Mundorf
最低1回注文数 : 1定数以上、1定数につき2個以上でお願いします。
受注生産のため納品に通常1カ月半ぐらいかかります。
下記商品以外(巻き線コイル、銅箔コイル、有芯コイル等)も輸入可能です。
|
Air-Core coils 販売開始(受注製造 製造に1カ月半はかかります) L300(VL300は未販売)は国内で入手できるのでVL390のみ販売します。 販売価格は問い合わせください。 VL390
wire 6 * 2 mm (V: Vacuum impregnation 処理済み) |
TRANSFORMER core coil WITH FERON T 300(VT300)
Vacuum impregnation代金は別です。
(VT390も販売しています)

|
T 300 transformer-core coil with Feron
Technical specifi cations:
|
||||||||||||||||||||||||||||||||||||||||||||||||||||||||||||||||||||||||||||||||||||||||||||||||||||||||||||||||||||||||||||||||||||||||||||||||
|
Technical details : |
||||||||||||||||||||||||||||||||||||||||||||||||||||||||||||||||||||||||||||||||||||||||||||||||||||||||||||||||||||||||||||||||||||||||||||||||
|
||||||||||||||||||||||||||||||||||||||||||||||||||||||||||||||||||||||||||||||||||||||||||||||||||||||||||||||||||||||||||||||||||||||||||||||||
|
|
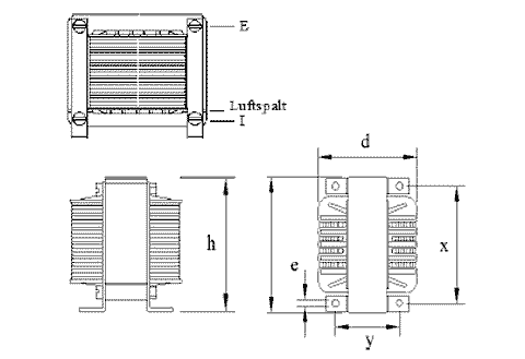
ZERO OHM COIL N 390
The Zero-Ohm-Coil (ZOC) is a special form of transformer core
coil. This
is also made of the top quality material FERON. In the ZOC, an
air gap is calibrated and adjusted by hand between the two
laminated cores (one I-shaped and one E-shaped). The air gap
determines the inductivity of the coil and demands great care in
the manufacturing process. It must not be too small, as
saturation effects would otherwise occur at high loadings. The
high production complexity of the ZOC is always justified when
maximum faithfulness in pulse reproduction is required. With our
ZOC, internal resistances are possible that cannot be achieved
with other coils. Vacuum impregnation is absolutely recommended
for zero-ohm-coils because it increases yet further the audible
quality, making the most of the product engineering.
Technical specifications:
Wire diameter: 6 * 2 mm
Core material: FERON
Grain-oriented silicon iron 0.35 mm
OFC-Copper 99.99% pure
|
Technical details : |
||||||||||||||||||||||||||||||||||||||||||||||||||||||||||||||||||||||||||||||||||||||||||||||||||||||||||||||||||||||||||||||||||||||||||||||||||||||||||||||||||||||||||||||||||||
|
||||||||||||||||||||||||||||||||||||||||||||||||||||||||||||||||||||||||||||||||||||||||||||||||||||||||||||||||||||||||||||||||||||||||||||||||||||||||||||||||||||||||||||||||||||
|
|
Vacuum impregnation代金は別です。
Duelund CAST PIO12AWGは最高と思いますがMundorf ZERO OHM COIL N 390も
引けを取らない超情報量、スピード感、低音の量感、透明感、力強さ、音質の賓は他のメーカーでは表現できません。
とにかく素晴らしいです!
まずは使って見てください。
使われた方、全員が驚かれています。
16cm〜40cm Wooferにお薦めいたします。
国内トランスメーカーでも同様な製品を販売していますが、残念ながらここまでの音質は出せない。
ScanSpeak,SEAS EXCEL(26cmWoofer),JBL,TAD,GOTO,ALTEC、
FOSTEX W400AHRの(40cmWoofer)に特にお薦めいたします。
受注生産ですので納品に2カ月前後かかります。


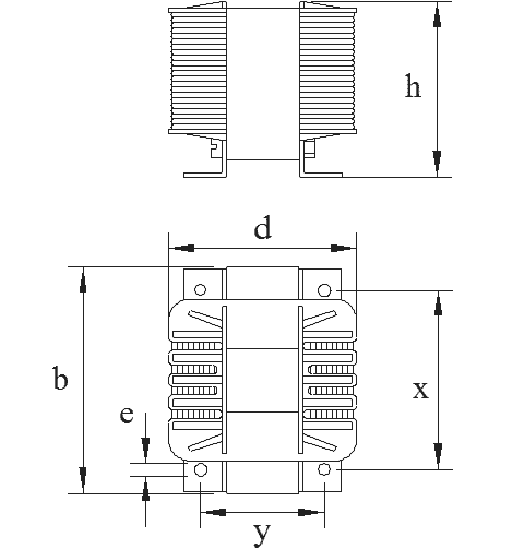
MUNDORF ZERO OHM COIL N 300
The Zero-Ohm-Coil (ZOC) is a special form of transformer core
coil.This is also made of the top quality material FERON. In the
ZOC, an air gap is calibrated and adjusted by hand between the
two laminated cores (one I-shaped and one E-shaped). The air gap
determines the inductivity of the coil and demands great care in
the manufacturing process. It must not be too small, as
saturation effects would otherwise occur at high loadings. The
high production complexity of the ZOC is always justified when
maximum faithfulness in pulse reproduction is required. With our
ZOC, internal resistances are possible that cannot be achieved
with other coils. Vacuum impregnation is absolutely recommended
for zero-ohm-coils because it increases yet further the audible
quality, making the most of the product engineering.
Technical specifications:
Wire diameter: 3,00 mm
Core material: FERON
Grain-oriented silicon iron 0.35 mm
OFC-Copper 99.99% pure
|
|||||||||||||||||||||||||||||||||||||||||||||||||||||||||||||||||||||||||||||||||||||||||||||||||||||||||||||||||||||||||||||||||||||||||||||||||||||||||||||||||||||||||||||||||||||||||||||||||||||||||||||||
|
|